Corps combiné Monotube RA-KEW- arrivée par le mur
Les combinés RA-KE/RA-KEW se raccordent esthétiquement et rapidement au réseau de conduites encastrées dans le sol ou dans le mur.
Ils sont utilisés pour les installations monotubes avec circulateur.
Les combinés RA-KE/RA-KEW ont été conçus pour que le débit d’eau de chauffage, dans une boucle, reste pratiquement inchangé et ce indépendamment de la demande calorifique de chaque radiateur dans cette boucle.
Les pertes de charge sur cette boucle sont pratiquement constantes même sous des conditions pratiques très diverses.
Attention ! Un combiné contient les éléments suivants :
Répartiteur inférieur avec isolement avec bicônes de 15 mm pour le tube de liaison raccords filetés G 3/4” mâle
Corps de vanne supérieure droit avec bicône pour tube de liaison de 15 mm et écrou pour le coude
Coude, R 1/2” pour le radiateur
! Le tube de liaison, les raccords et l'élément thermostatique RA 2000 sont à commander séparément. !
Caractéristiques techniques
Plage de pression différentielle : 0,6 bar
Pression d'essai : 16 bar
Pression de service : 10 bar
Volume : 0,85 litre
Taille du raccordement extérieur : R 1/2
Taille du raccordement intérieur : G 3/4 A
Température de départ : 120 °C
Type : RA-KE/KEW
Type de vanne : RA-KE avec coude
Type RLV : RA-KEW
Valeurs kvs : 2,5 m³/h
Le combiné RA-KE/RA-KEW a été conçu pour des boucles atteignant une puissance maximum de 9 kW (8.000 kcal/h).
Une perte de charge excessive dans une boucle peut être réduite par l’adjonction d’un limiteur de débit type ASV-Q, car dans les installations avec corps de vannes RA-KE ou RA-KEW le débit est pratiquement stable. De cette façon le débit dans la boucle ne dépassera pas la limite choisie.
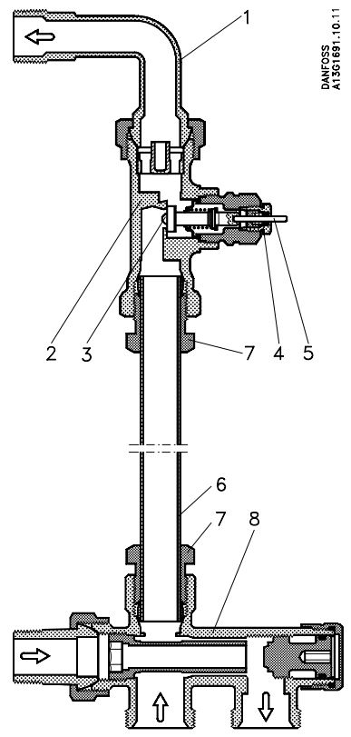
Schéma du RA-KEW

1 : Coude / 2 : Corps de vanne / 3 : Clapet en NBR / 4 : Presse étoupe / 5 : Tige du clapet en acier chromé / 6 : Tube de liaison en acier galvanisé / 7 : Raccord à compression à bicône / 8 : Répartiteur inférieur
Le corps de vanne supérieur et le répartiteur sont nickelés à l'extérieur.
Montage du corps combiné
Les instructions de montage pour les RA-KE / RAKEW sont détaillées dans le manuel de montage !
